It's said that genius is 1% inspiration and 99% perspiration. For some people all they have is perspiration. Today we celebrate the efforts of these incredibly moist and flagrant folks...
10. Hula-Hoop Girdles
There's been a lot of chat recently about the lack of people taking up snowboarding over the last few years. One of the solutions would be to make learning to snowboard a little easier, anything that could make your first experience of snowboarding feel a little less like you'd just naively bent down to pick up the soap in the prison showers would be a massive bonus. That said, the answer has not turned out to be dressing some poor mug in a giant steering wheel.
This design did actually see the light of day and it's still around and finding a small niche in adaptive snowboarding as the puntastic Sno-Wing.
9. Sailboards
"One of the advantages of the loop strap is that it prevents ankle and knee injury due to the dangling of the board from one foot as the person rides the chairlift". - Of all the dangers inherent in our sport, this one has to be the least.
6. Emergency Lighting Systems
Numerous inventors have explored the opportunities of adding lighting systems to snowboards, but the insurmountable detail that snowboarding is a daytime sport has so far put an end to the realisation of their dreams.
All things combined, this proved to be one massively over-engineered snowplough.
Site highlight: This guy has an truly immense head.
1. Catwalk Sticks?
You Might Also Like...
More Powered Snowboards than you can shake a shitty stick at
All you ever wanted to know about: Wind-Powered Snowboards
10. Hula-Hoop Girdles
There's been a lot of chat recently about the lack of people taking up snowboarding over the last few years. One of the solutions would be to make learning to snowboard a little easier, anything that could make your first experience of snowboarding feel a little less like you'd just naively bent down to pick up the soap in the prison showers would be a massive bonus. That said, the answer has not turned out to be dressing some poor mug in a giant steering wheel.
![]() |
| Although it never really took off in the snowboarding world, the hoop girdle was found to be the perfect solution to the dropped soap problem |
This design did actually see the light of day and it's still around and finding a small niche in adaptive snowboarding as the puntastic Sno-Wing.
9. Sailboards
As soon as one person invents a sport, someone else tries to mash that sport up with another. Here's windsurfing bodged together with snowboarding.
Sailboard for snow and ice – 1984
Sailboard for snow and ice – 1984
And here's how that idea works in real life...
The major drawback of snowboard sailing is the music
Although that original patent amounted to very little, it's not stopped people from continuing to reinvent exactly the same thing, time and time again. In an article we produced some time ago we found that this little snowboard niche had expanded to include a plethora of sports you've never heard of including; Snow Kiting, Snow Kiteboarding, Sail Boarding, Wind Sking, Wind Boarding, Winter Windsurfing, Kitewinging, Ice Surfing, Iceboarding, Snowfering, Skywinging, Speed Riding and Speedflying.
8. Motorised Snowboards
Like wind-powered snowboarding, motorised snowboarding attracts doomed inventiors like shit attracts flies. We've also produced an article on their so far unsuccessful exploits and here's the latest idea that you won't see in a resort near you soon, or at least until someone can make one of these things weigh exactly nothing.
Powered Snowboard - 2012
Powered Snowboard - 2012
![]() |
| The real skill is being able to ride the board without looking where you're going |
7. Lift Tethers
![]() |
| 43 - nipple clamps, 25 & 26 cock suspenders |
![]() |
| 36 - Snowboard clogs |
"One of the advantages of the loop strap is that it prevents ankle and knee injury due to the dangling of the board from one foot as the person rides the chairlift". - Of all the dangers inherent in our sport, this one has to be the least.
Somehow the snowboard suspenders concept actually made it to market as the Legsaver
![]() |
| They are no longer in business |
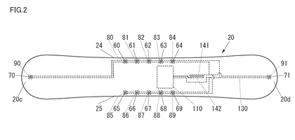
6. Emergency Lighting Systems
Numerous inventors have explored the opportunities of adding lighting systems to snowboards, but the insurmountable detail that snowboarding is a daytime sport has so far put an end to the realisation of their dreams.
![]() |
| 16 - Eye of Mordor, 18 - Monocle of Mordor |
All things combined, this proved to be one massively over-engineered snowplough.
It didn't help that this patent application was written by Donald Rumsfeld; "When visibility is poor in cases such as in a snowstorm, when fog rises, or when snowboarding at night, it is hard for a back person in sliding persons using snow sliding equipments (hereinafter, a “back sliding person”) to notice a front person (hereinafter, a “front sliding person”). Therefore, when the sliding speed of the back sliding person is higher than that of the front sliding person, a collision between the front sliding person and the back sliding person can occur. To avert such collision, it is considered to make the snow sliding equipment of the front sliding person luminous to draw attention of the back sliding person to the front sliding person."
![]() |
| Great for illuminating the ground up to three centimetres ahead of you |
5. Dinky Snowboards
Adding more stuff to snowboards isn't the only path open to tinkerers, the other alternative is to remove things or cut things in half.
Individual Snowboard for Each Foot – 1997
That's an image from the original patent for the absolute pony Dual Snowboards, bafflingly the most successful of these awful ideas, although in all probability it will follow all these other ideas into dusty oblivion.
Adding more stuff to snowboards isn't the only path open to tinkerers, the other alternative is to remove things or cut things in half.
Individual Snowboard for Each Foot – 1997
| Granddad's slipper glued to a Pringle |
That's an image from the original patent for the absolute pony Dual Snowboards, bafflingly the most successful of these awful ideas, although in all probability it will follow all these other ideas into dusty oblivion.
Interestingly in their various applications the other referenced patents aren't snowboarding, instead they seem to have been inspired by a series of patents for snowblade precursors, including this beauty. It undermines the positioning of their product as an improvement on snowboarding when it was inspired by feet buckets.
As with all of these ideas, just because it's a bad idea doesn't seem to put others off from having a go too.
Articulated two-piece snowboard with rigid, flexible connector – 2011
| Shoe device and method of attaching a strap to a shoe member - 1977 |
As with all of these ideas, just because it's a bad idea doesn't seem to put others off from having a go too.
Articulated two-piece snowboard with rigid, flexible connector – 2011
This saw the light of day as the Trakboard, although judging by the antiquated website and videos this product has already gone the way of the step-in binding.
![]() |
| This product was about as usable as the guy's spelling of usable |
The bloke that produced the last patent seems to be a bit of a serial patentist. Here's another of his cracking ideas...
| Bionic Boots |
4. Snowboard Scooters
The premise for this is, despite all evidence to the contrary, handles would be a better way to control a snowboard than bindings. A really bad starting point, but people just love mashing shit up so they were sure to try this at some point.
Snow scooter and method of using snow scooter - 2003
I was hoping they'd update their patent by submitting doodles they'd drawn on some ketchup-stained napkins, but rather disappointing by 2008 they'd tidied things up a little.
With two handles and a set of bindings this seems to be a snowboard designed for control-freak master puppeteers, a very niche market.
Snowboard with steering control – 2004
To see how these two-handled snowboards roll, here's a video from another patentee, Yibb Boards, the Netherlands biggest contribution to snowboarding, featuring lots of straight airs and hotel foyer music.
The universal sign that you've just invented a crap snowboard is if you've also just developed a surprising and uncontrollable desire to listen to easy listening jazz.
2. HangboardsWhile we're busy bodging together sports hows about the incredibly unlikely combination of hang gliding and snowboarding?
The premise for this is, despite all evidence to the contrary, handles would be a better way to control a snowboard than bindings. A really bad starting point, but people just love mashing shit up so they were sure to try this at some point.
Snow scooter and method of using snow scooter - 2003
| This is easily my favourite patent sketch. Loving the use of lined paper. |
I was hoping they'd update their patent by submitting doodles they'd drawn on some ketchup-stained napkins, but rather disappointing by 2008 they'd tidied things up a little.
![]() |
| 56 - man with no neck, 54 - disco shoes, 25 - Dance Dance Revolution platform, 24, fucking massive snowboard |
Here's a look at the performance of snowboard scooters in an incredibly unsuccessful advert from the now defunct Venom Switchboards.
Question: What's better than a snowboard with an unnecessary handle?
Anserw: A snowboard with two unnecessary handles...
4. Two Handled SnowboardsWith two handles and a set of bindings this seems to be a snowboard designed for control-freak master puppeteers, a very niche market.
Snowboard with steering control – 2004
![]() |
| 27 - The Running Man |
To see how these two-handled snowboards roll, here's a video from another patentee, Yibb Boards, the Netherlands biggest contribution to snowboarding, featuring lots of straight airs and hotel foyer music.
The universal sign that you've just invented a crap snowboard is if you've also just developed a surprising and uncontrollable desire to listen to easy listening jazz.
Someone decided to go full Heath Robinson on this shit, and amazingly this contraption is now available as the Hangboard.
“Wait till you see the next story, its about something that we’re pretty sure will take the extreme sports world by storm.”
That video was from three years back and the extreme sports world is still bracing itself for the storm.
In the patent application theirs also a design for a seated hangboard, which if it's possible, makes even less sense. Hangboard are clearly not big fans of making sense...
Site highlight: This guy has an truly immense head.
1. Catwalk Sticks?
In the past few days I've come across at least a dozen separate patents all trying to corner the market in snowboard poles. It makes you question the validity of patents when you can apparently patent a stick. At least three of these things are now available to buy at surprising high price points. However the winner in this cul-de-sac of snowboard design, and the winner of the worst snowboard idea ever patented is...
Catwalk sticks for propelling a snowboarder – 2000
Catwalk sticks for propelling a snowboarder – 2000
![]() |
| Cutlery propelled snowboarding |
You Might Also Like...
More Powered Snowboards than you can shake a shitty stick at
All you ever wanted to know about: Wind-Powered Snowboards



















